24.11.22 – Designgeschichten
Johannes Sklenarz und die „Klimax“-Autokindersitze von Osann
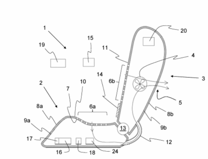
Sie schaffen eine perfekte Klimazone im Fahrgastraum: Die Autokindersitze von Osann mit patentierter „Klimax“-Technologie stehen im Mittelpunkt unserer Designgeschichten.

Ein langer Weg von der Skizze über verschiedene Prototypen – inzwischen ist eine ganze „Klimax“-Produktlinie erhältlich. © Osann


